if嵌套
1. if嵌套
最简单的if条件语句结构如下
if condition: |
当表达式condition成立时,程序进入到if 下面的代码块block执行,在block中,还可以写if条件语句么?答案是肯定的,这样就形成了一个if嵌套,在某个条件下,继续针对不同的条件进行控制,嵌套的层次不受限制,只要你自己能理清思路就行。
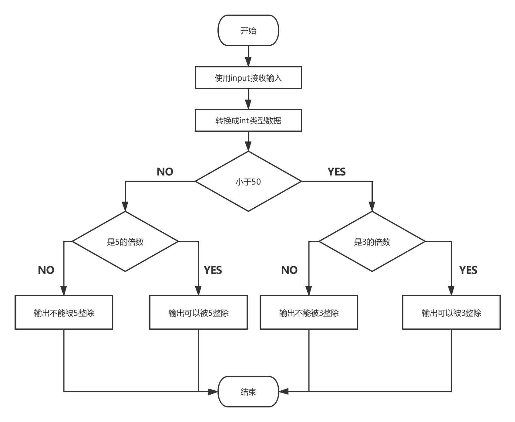
使用input函数接收用户的输入,用户输入一个正整数num,对num进行判断,如果num小于50 ,那么则继续判断它能否被3整除,如果能,输出“可以被3整除”,否则输出“不能被3整除”, 如果numd大于等于50,则继续判断能否被5整除,如果能,输出“可以被5整除”,否则输出“不能被5整除”
直接给出示例代码
num = int(input("输入一个数字:")) |

2. 随堂练习
2.1 题目要求
使用input函数接收用户的输入,如果输入的数据不可以转换成int类型数据,则输出”无法使用int函数转换”,如果可以,则将用户的输入转成int类型数据并继续判断。
如果输入数据是奇数,则将其乘以2并输出,如果是偶数,则判断是否能被4整除,如果可以则输出被4整除后的值,若不能被4整数,则判断是否大于20,如果大于20则输出与20的差值,如果小于等于20,则直接输出该值
2.2 思路分析
使用字符串的isdigit()方法可以判断一个字符串能否使用int函数转换为int类型数据
2.3 示例代码
value = input("请输入一个整数:") |
2.4 程序流程图
