python if条件语句详解
if条件语句定义
python if条件语句是流程控制语句,if 语句包含零个或多个 elif 子句及可选的 else 子句,关键字elif 是else if的缩写,可以避免过多的缩进,python里没有else if 这种语法。if语句的核心作用是控制程序走向哪一个逻辑分支。
下面是if语句的伪代码表示形式。
if test : |
- if关键字后面必须紧跟一个表达式,这里用test表示
- elif关键字后面也必须紧跟一个表达式
- if , elif , else 各自产生一个逻辑分支,也就是suite部分
- 在伪代码里,elif 子句我用小括号括起来并使用*来表示这部分可以有0或者多个
- else语句用中括号括起来,这表示可选,可以有0或者一个else
if语句的执行过程如下:
- 从上到下,依次判断test表达式是否成立,如果成立,则进入对应的逻辑分支执行代码
- 表达式的计算结果如果是True,那么表达式就是成立的,反之,表达式不成立。
- if,elif, else 各自形成逻辑分支,程序在执行时,只能进入其中的某一个逻辑分支,无法进入两个或两个以上。
if语句的三种形式
从形式上看,if语句可以分为3中形式:
- if statement
- if-else
- if-elif-else
if statement,这种形式的if语句只有一个if关键字,当满足某个条件时,程序执行对应的逻辑分支。
value = input("请输入一个正整数:") |
当用户输入的正整数是偶数时,表达式i_value % 2 的结果是True,条件成立,进入if语句的逻辑分支输出它是一个偶数。如果用户输入的是一个奇数,表达式i_value % 2 的结果是False,条件不成立,程序不做任何操作。
如果想对输入的奇数做响应,那么应当使用if-else 这种if语句形式。
value = input("请输入一个正整数:") |
用户输入的整数是偶数时,表达式i_value % 2 成立,进入if关键所对应的逻辑分支,输出它是偶数;用户输入的整数是奇数时,表达式i_value % 2 不成立,则进入到else所对应逻辑分支,输出它是奇数。
当对应多个条件有多个逻辑分支时,则应使用if-elif-else 形式的if语句来处理,比如下面的代码
temperature = input("请输入今天的温度:") |
我将温度划分为4个区间
- 小于0, 寒冷
- 大于等于0小于15度,微冷
- 大于等于15小于25,温暖
- 大于等于25,炎热
程序将根据用户输入的温度判断并输出温度输出哪一个区间。if语句在执行时,从上至下依次判断下面3个表达式是否成立
- temperature < 0
- temperature < 15
- temperature < 25
如果表达式1成立,就进入if关键字所对应的逻辑分支输出寒冷,注意,此刻已经有一个条件表达式成立了,那么其他的条件表达式就不会再判断了。
如果表达式1不成立,继续判断表达式2是否成立,此时已经可以断定temperature是大于等于0的,因此第二个表达式里我没有特别的注明大于等于0,其实也可以写成 0 <= temperature < 15,只是从逻辑上看是毫无必要的,因此只有当temperature大于等0时才有机会判断第二个表达式是否成立。
如果表达式2也不成立,则计算判断表达式3,如果表达式3也不成立,则直接进入到else所对应的逻辑分支,temperature 必然是大于等于25。
if语句如何判断条件表达式是否成立
python的if语句在判断条件表达式是否成立时有自己特殊的规则,我们先来看常规的情况
if 5 > 3: |
表达式 5 > 3 的计算结果是True,属于bool类型,此时表达式成立,这与其他编程语言并无区别,python的特殊之处在于它并不要求if语句中的表达式计算结果必须是bool类型,比如下面的if语句
lst = [] |
表达式lst的计算结果就是lst本身,属于列表类型,这在其他编程语言里可能是个语法错误,但python却支持这种写法,那么它是如何处理的呢,方法其实很简单,使用bool内置函数对表达式的结果进行换换,如果转换结果是True,条件表达式成立,反之条件表达式不成立。
bool([]) 的结果是False,bool函数传入的参数如果是空列表,空集合,空字符串,空字典,None,0, False,函数的返回值就是False,除此以外都是True。
使用程序流程图来理解if语句执行过程
通过绘制程序的流程图,你能更加清晰的理解程序的执行过程
value = input("请输入一个正整数:") |
我们来画出这段程序的流程图
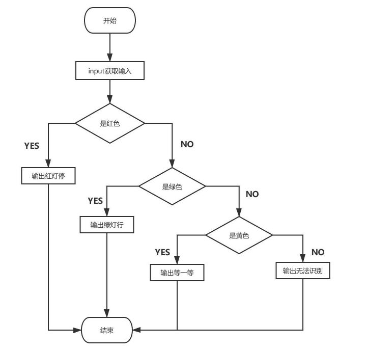
这段程序比较简单,我们来看复杂一点的,程序要求如下:
使用input函数接收用户的输入,用户输入一种颜色,如果是红色,程序输出“红灯停”,如果是绿色,则输出“绿灯行”,如果是黄色,则输出“等一等”,如果是其他颜色,则输出“无法识别”。
示例代码
value = input("输入一种颜色:") |
程序流程图如下